Виды зданий депо для обслуживания локомотивов


Моторвагонное депо станции «подмосковная»
Моторвагонное депо станции «подмосковная»


Электровоз уральские локомотивы
Электровоз уральские локомотивы


Локомотивное депо волхов
Локомотивное депо волхов


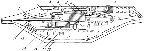
Проект локомотивного депо
Проект локомотивного депо


Моторвагонное депо подмосковная
Моторвагонное депо подмосковная


Ремонтное депо тепловозов
Ремонтное депо тепловозов


Ремонтное вагонное депо грузовых вагонов
Ремонтное вагонное депо грузовых вагонов


Проект пожарного депо на автомобиля
Проект пожарного депо на автомобиля











































































































































































































































Поделиться картинками в социальных сетях:



Категории: ---
Добавлено: 07 май
Просмотров: 334
голосов: 0
Комментариев (0)